Anesthesia Circuits
The product features various
lengths and specifications of anesthesia tubing. The connectors are
standardized and can be used with different anesthesia machine. The product has
excellent elasticity, softness, transparency, and air tightness.
Performance Structure
1. The product is made of medical polymer materials.
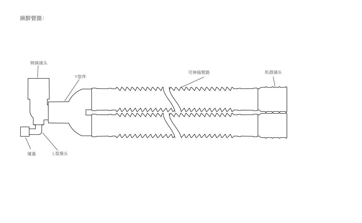
2.The product comprises a machine-end connector, a Y-shaped connector, tubing, a parallel connector, a fixing clamp, a water collecting cup, an adapter, and transparent tubes. It is packaged individually.
3. Product
Sterilization: Ethylene oxide sterilization.
Applicable Department
ICU, Operating room.
Scope Of Application
The product is used for
anesthesia during surgery.



